高中生物人教版 (新课标)必修3《稳态与环境》第3节 神经调节与体液调节的关系导学案
展开【学习目标】
1、描述水盐调节和体温调节。
2、神经调节与体液调节的协调关系。
【学习重点】神经调节与体液调节的协调。
【学习难点】人体的体温调节与水盐调节的分析。
【学习过程】
一、知识连接:
(1)神经调节的基本方式 ,是指在______ 的参与下,人和动物体对外界环境的 所发生的 。完成反射的结构基础是 。
(2)体液调节是指 ( )通过 对生命活动进行调节,一般来说单细胞动物和一些多细胞的低等动物只有 ,但在人和高等动物体内, 和 都是机体调节生命活动的重要方式。
二、自主学习
1.神经调节与体液的联系
神经调节与体液的区别
2、水的平衡调节
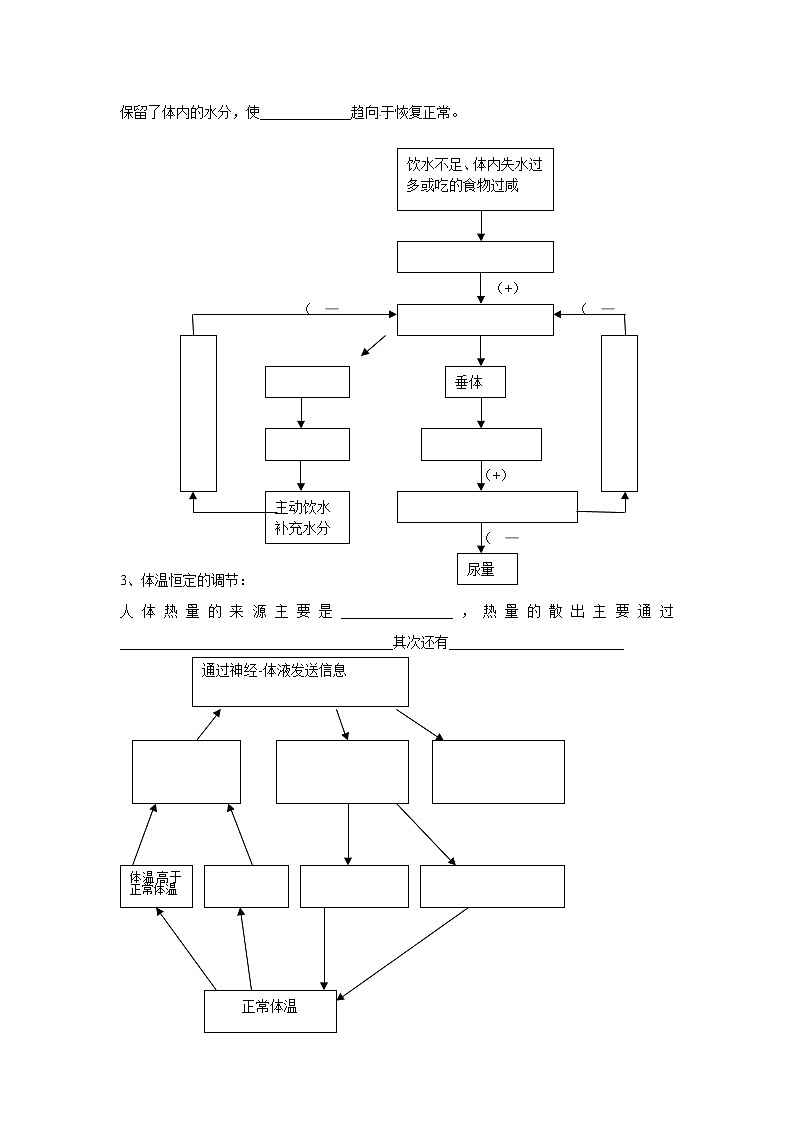
当人饮水不足,体内失水过多或吃的食物过咸时,都会引起细胞外液________________,使下丘脑中的_____________受到刺激。这时,下丘脑中的___________一方面产生__________并传至_____________,通过产生_____________来直接调节水的_____________;一方面由_____________分泌,并且_____________释放的_____________增加,从而促进了________和_____________对水分的重吸收,减少了_____________的排出,保留了体内的水分,使_____________趋向于恢复正常。
(+)
(—)
(—)
(—)
(+)
主动饮水
补充水分
垂体
尿量
饮水不足、体内失水过多或吃的食物过咸
3、体温恒定的调节:
人体热量的来源主要是________________,热量的散出主要通过_______________________________________其次还有_________________________
通过神经-体液发送信息
体温高于正常体温
[来源:学_科_网]
正常体温
三、预习自测
(一)选择题
1.遇海难而漂浮在海面的人,因缺乏淡水,此人( )
A.血浆渗透压升高,抗利尿激素增加
B.血浆渗透压升高,抗利尿激素减少
C.血浆渗透压降低,抗利尿激素增加
D.血浆渗透压降低,抗利尿激素减少
2.运动员在长跑比赛中,会出现呼吸极度困难,腿酸痛,甚至有不想再跑的念头,但是当听到震耳的“加油”声后,却能加速冲刺,其主要调节过程是 ( )
A.声音→神经系统→心血管活动增强→促进有氧呼吸
B.声音→神经系统→甲状腺素增高→促进无氧呼吸
C.声音→神经系统→甲状腺素增高→促进有氧呼吸
D.声音→神经系统→肾上腺素增高→促进无氧呼吸
3.抢救危重患者时,输给患者的氧气中需加入少量CO2,这是因为( )
A 刺激呼吸中枢,使患者呼吸加深加快 B 使患者吸入气体接近空气成分
C 使患者吸入气体变酸 D 使患者吸入气体变碱
4、下列哪项不是体液调节的特点 ( )
A 反应速度比较缓慢 B 作用范围比较局限
C 作用时间比较长 D 作用范围比较广泛
5、将大白鼠从25℃移至0℃的环境中,大白鼠将出现的生理反应是 ( )
A 耗氧量减少,竖毛肌舒张 B 耗氧量增加,体表血管收缩
C 耗氧量减少,心率变慢 D 耗氧量增加,体温升高
6、人体内激素分泌量过多或不足都会对机体有害,体内有一系列机制维持激素在血液中含量的相对稳定。图2-3-8表示下丘脑神经分泌细胞、垂体细胞、甲状腺细胞及它们分泌的激素之间的关系。
图2-3-8
据图回答有关问题:
(1)图中激素A是______________________________。
(2)当体内缺乏______元素时,将导致激素C的合成受阻,该元素进入甲状腺细胞的运输方式是______。
(3)当人体遇危险而情绪紧张时,血液中激素C的含量将会__________,这里由于激素A、B的含量_________所致。这种生理过程是由__________共同调节的。
(4)如果激素C的合成量过多时,激素A、B含量的变化趋势是_________。这是一种_________调节机制。
参考答案
1A 2A 3A 4B 5B
6、(1)促甲状腺激素 (2)碘 主动运输 (3)增加 增加 神经和体液(激素) (4)下降 (负)反馈
比较项目
神经调节
体液调节
作用途径
反应速度
作用范围
作用时间
高中生物人教版 (2019)必修2《遗传与进化》第3节 伴性遗传导学案: 这是一份高中生物人教版 (2019)必修2《遗传与进化》第3节 伴性遗传导学案,共4页。学案主要包含了基础学习,巩固练习等内容,欢迎下载使用。
高中生物人教版 (新课标)必修2《遗传与进化》第3节 伴性遗传学案: 这是一份高中生物人教版 (新课标)必修2《遗传与进化》第3节 伴性遗传学案,共6页。学案主要包含了学习目标,自主预习,互动探究,课堂练习等内容,欢迎下载使用。
生物必修3《稳态与环境》第3节 神经调节与体液调节的关系学案设计: 这是一份生物必修3《稳态与环境》第3节 神经调节与体液调节的关系学案设计,共5页。学案主要包含了预习目标,预习内容,神经调节和体液调节之间的关系等内容,欢迎下载使用。

