人教版第5节 串、并联电路中电流的规律教案
展开
《探究串联电路中的电流规律》教学设计
探究并联电路中电流的规律
教 材 | 人教版九年级物理 | ||
章 节 | 第十五章第五节 探究串联电路中电流的规律 | ||
单元名称 | 探究串联电路中干路的电流与各支路的电流有什么关系 | ||
(一)课标要求:
| |||
会使用电流表;会读、会写简单的电路图;能连接简单的串联电路。 | |||
(二)教学设计思想: | |||
1、在串联电路电流规律的探究过程中,通过给学生创设问题的情景,充分调动学生的积极性,使学生去讨论、去猜想、设计实验方案并动手做实验,让学生成为串联电路电流规律的“发现者”、课堂的主人翁,使本节课的教学过程如同研究课题那样去进行。 2、在整个教学过程中,教师是学生学习的合作者、引导者和参与者。教学过程是师生交流、共同发展的互动过程。当学生遇到困难时,教师要和学生一起猜想、分析,从中点拨他们的思维。 3.要求学生通过探究活动得出串联电路中电流的关系。让学生继续体验科学探究,学习科学探究的方法。这节课的重点应放在过程上,让学生认真经历探究的各个环节,并完成科学探究的小报告。探究活动的目的绝不只是让学生说出和记住结论,而是要求学生在探究的过程中学习,科学探究过程的每个环节都有它特有的教育功能。
| |||
(三)教学目标 | 1、知识与技能 | (1)学生能探究并得出串联电路中电流的规律;学生能正确连接电路和使用电流表。 | |
(2)学生的概括能力和语言表达能力得到进一步的提高。 | |||
2、过程与方法 | 科学探究全过程的切身体验,学会科学研究的方法。 | ||
3、情感态度和价值观 | 学生形成严谨的科学态度和协作精神。 | ||
教学重点 | 学生经历探究各个环节;在实验中探究串联电路中电流的规律。 | ||
教学难点 | (学生)提出问题、连接实物电路;(教师)组织调控学生有序进行探究实验。 | ||
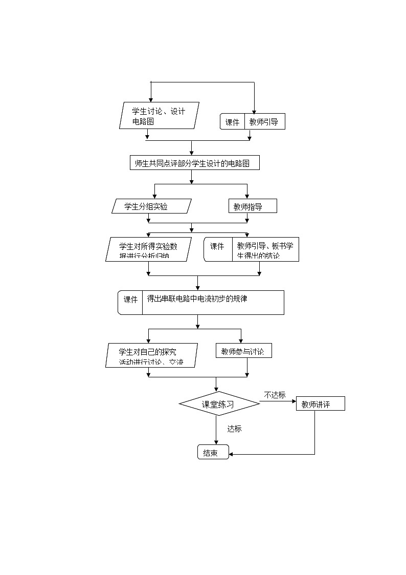
(四)教学流程
图符说明
|
(五)教学过程
教学内容 | 教师活动 | 学生活动 | 设计依据 |
1、复习上节课,我们学习电流表的使用方法和使用时的注意事项<课件1> | 提出问题:上节课我们学习电流表的使用方法和使用时的注意事项当时我们测电流时,电流表是怎样连接的? | 思考回答 | 对比教学 遗忘规律 复习巩固 |
2、<课件2>
| 引入 讲解:在电路中区位置不同的A、B、C三点. <课件3>
| 听讲记忆 | |
3、提出问题:对于串联电路你想了解什么问题? | 提出问题,鼓励、引导学生积极提问,归纳学生提出的问题并板书。 | 提出问题 | 培养学生提出问题的能力、语言表达的能力,培养学生的发散思维。 |
4、请大家猜想:串联电路中各点的电流有什么关系?各组讨论讨论. <课件4>
| 参与学生讨论,板书学生的猜想。 | 讨论 交流 将猜想记录下来 | |
5、如何检验同学们的猜想是否正确?——进行实验。(1)进行实验,要先设计.大家分组讨论以下问题: 实验需要什么器材? 要测量哪几个地方的电流? 实验电路图如何设计?如要测量A点的电流,电流表应怎样连接? 那么测量B、C点的电流,电流表又要如何连接呢? (2)动画显示测A点电流的电流表的接法.<课件4>
|
引导学生设计测A点电流的电路图;
引导学生连接对应的实物图
提醒学生在实验过程中要注意的问题,得到数据后应怎么做 | 总结设计电路图的方法。 交流 把全部电路图画出来 | 培养学生的实践能力、信息收集能力和团结协作精神。 |
6、进行实验 | 指导学生实验 | 小组分工协同实验,记录数据 | |
7、分析论证(1)各组的实验都完成了,请XX组的同学把你们的实验成果-----实验测得的数据拿上来投影,根据数据你们得出了什么结论?是否验证了你的猜想? <板书: >
| 引导学生对收集的实验数据进行归纳总结,得出规律 板书学生得出的结论 | 对所得实验数据进行分析归纳,得出结论,验证猜想。 | 有初步的分析概括能力和信息处理能力 |
(2)PPT展示通过数据得到的初步结论 | <课件演示> | 观看 | 更直观形象的演绎串联电路的电流规律,帮助学生更好理解。 |
8、评估现在请同学们回头想一下,刚才实验设计有没有不合理的地方? 操作中有没有什么失误? 测量结果是不是可靠? 有没有出现故障? 你是怎样解决的? 请各组同学讨论一下. | 引导 | 讨论 评估 | 能书面或口头表达自己的观点,初步具有评估和听取反馈意见的意识。有初步的信息交流能力。 |
9、交流 | 参与讨论 | 讨论、交流 | |
10、课堂练习:下列电路中的电流表分别是测哪个小灯泡的电流?(3道实物图,1道电路图) | 点评 | 思考、交流 | 针对学生在连接电路中存在的问题而设(预测) |
人教版九年级全册第5节 磁生电教案设计: 这是一份人教版九年级全册第5节 磁生电教案设计,共2页。教案主要包含了引入新课,作业等内容,欢迎下载使用。
初中物理人教版九年级全册第十六章 电压 电阻第3节 电阻教学设计: 这是一份初中物理人教版九年级全册第十六章 电压 电阻第3节 电阻教学设计,共3页。教案主要包含了教学目标,进行新课等内容,欢迎下载使用。
人教版九年级全册第2节 内能教学设计: 这是一份人教版九年级全册第2节 内能教学设计,共4页。教案主要包含了教学设计理念,教学设计思路,教学目标,重点和难点,教学资源,教学流程图,教学过程等内容,欢迎下载使用。

