2021-2022学年安徽省合肥六中高一上学期第二次月考数学试题(解析版)
展开1.定义集合运算:.设,,则集合的所有元素之和为( )
A.0B.2C.3D.6
2.命题“”的否定是( )
A.B.
C.D.
3.已知函数的定义域为,则函数的定义域是( )
A.B.(C.D.
4.设函数,则的表达式为( )
A. B.
C.D.
5.若,对任意的都有成立,则实数的取值范围是( )
A.B.C.D.
6.我国著名数学家华罗庚曾说:“数缺形时少直观,形少数时难入微,数形结合百般好,割裂分家万事休.”在数学的学习和研究中,常用函数的图象来研究函数的性质,也常用函数的解析式来琢磨函数图象的特征,如函数的大致图象是( )
A.B.
C.D.
7.已知是奇函数,且在上是增函数,又,则的解集为( )
A.B.C.D.
8.已知函数若存在,且,使得成立,则实数的取值范围是( )
A.B.C.D.
二、多选题
9.下列各组中M,P表示不同集合的是( )
A.M={3,-1},P={3,-1}
B.M={(3,1)},P={(1,3)}
C.M={y|y=x2+1,x∈R},P={x|x=t2+1,t∈R}
D.M={y|y=x2-1,x∈R},P={(x,y)|y=x2-1,x∈R}
10.给出命题:①的值域是;②的值域为;③的值域为;④的值域为,其中正确的命题的有( )
A.①B.②C.③D.④
11.下列求最值的运算中,运算方法错误的有( )
A.当时,,故时,的最大值为;
B.当时,,当且仅当时取等号,解得或,又由,所以取,故时,的最小值为;
C.由于,故的最小值是;
D.,,且,由于,则,又,则,,且,的最小值为.
12.关于函数的性质描述,正确的是( )
A.的定义域为B.的值域为
C.在定义域上是增函数D.的图象关于原点对称
三、填空题
13.已知幂函数在为增函数,则实数的值为___________.
14.已知条件:,条件:.若是的必要不充分条件,则实数的最大值是________.
15.已知定义在上偶函数在上是减函数,若,则实数的取值范围是________.
四、双空题
16.已知函数是定义在上的奇函数,当时,,其中.
(1)当时,__________;
(2)若的值域是,则的取值范围为__________.
五、解答题
17.已知函数的定义域为,集合.
(1)当时,求;
(2)若是的充分条件,求的取值范围.
18.已知函数().
(1)判断函数的奇偶性并给予证明;
(2)若函数满足,判断函数在区间的单调性,并用单调性的定义证明.
19.已知函数是定义域在上的奇函数,当时,.
(1)求出函数在上的解析式;
(2)画出函数的大致图象并写出函数的单调区间.
20.已知函数是幂函数,且.
(1)求函数的解析式;
(2)若函数在区间上有零点,求的取值范围;
(3)解关于的不等式:
21.因新冠肺炎疫情影响,呼吸机成为紧缺商品,某呼吸机生产企业为了提高产品的产量,投入万元安装了一台新设备,并立即进行生产,预计使用该设备前年的材料费、维修费、人工工资等共为()万元,每年的销售收入万元.设使用该设备前年的总盈利额为万元.
(1)写出关于的函数关系式,并估计该设备从第几年开始盈利;
(2)使用若干年后,对该设备处理的方案有两种:案一:当总盈利额达到最大值时,该设备以10万元的价格处理;方案二:当年平均盈利额达到最大值时,该设备以50万元的价格处理;问哪种方案处理较为合理?并说明理由.
22.已知函数是二次函数,不等式的解集为,且在区间上的最小值是4
(1)求的解析式;
(2)求在上的最大值的解析式;
(3)设,若对任意,均成立,求实数的取值范围.
2021-2022学年安徽省合肥六中高一上学期第二次月考数学试题
一、单选题
1.定义集合运算:.设,,则集合的所有元素之和为( )
A.0B.2C.3D.6
【答案】D
【解析】【详解】试题分析:根据题意,结合题目的新运算法则,可得集合AB中的元素可能的情况;再由集合元素的互异性,可得集合AB,进而可得答案解:根据题意,设A={1,2},B={0,2},则集合AB中的元素可能为:0、2、0、4,又由集合元素的互异性,则AB={0,2,4},其所有元素之和为6;故选D.
【解析】元素的互异
点评:解题时,注意结合集合元素的互异性,对所得集合的元素的分析,对其进行取舍
2.命题“”的否定是( )
A.B.
C.D.
【答案】C
【分析】将全称命题否定为特称命题即可
【详解】命题“”的否定是,
故选:C
3.已知函数的定义域为,则函数的定义域是( )
A.B.(C.D.
【答案】C
【分析】由函数定义域的定义,结合函数有意义,列出相应的不等式组,即可求解.
【详解】由题意,函数的定义域为,即,
则函数满足,解得且,
所以函数的定义域是.
故选:C.
【点睛】本题主要考查了抽象函数的定义域的求解,其中解答中熟记函数的定义域的定义,根据题设条件和函数的解析式有意义,列出不等式组是解答的关键,着重考查推理与运算能力.
4.设函数,则的表达式为( )
A. B.
C.D.
【答案】B
【分析】令,则可得,然后可得答案.
【详解】令,则可得
所以,所以
故选:B
【点睛】易错点睛:本题主要考查函数解析式的求法,主要涉及了用换元法,要注意换元后的取值范围,考查学生的转化与化归能力,属于基础题.
5.若,对任意的都有成立,则实数的取值范围是( )
A.B.C.D.
【答案】D
【分析】由题意判断函数为单调递增,根据分段函数的单调性列不等式组即可求解.
【详解】由题意可得函数单调递增,
所以,
解得,
所以实数的取值范围是.
故选:D
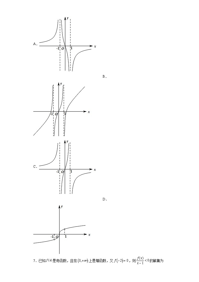
6.我国著名数学家华罗庚曾说:“数缺形时少直观,形少数时难入微,数形结合百般好,割裂分家万事休.”在数学的学习和研究中,常用函数的图象来研究函数的性质,也常用函数的解析式来琢磨函数图象的特征,如函数的大致图象是( )
A.B.
C.D.
【答案】C
【分析】根据解析式可得当时,当时,即可选出答案.
【详解】由可得:当时,当时,故排除ABD
故选:C
7.已知是奇函数,且在上是增函数,又,则的解集为( )
A.B.C.D.
【答案】A
【分析】先利用奇偶性、单调性及判断函数值的正负分布情况,再讨论和时不等式的解集情况,最后取并集即可.
【详解】是奇函数,即,故,
又在上是增函数,故在上也是增函数,
故时,时,时,时.
当时,不等式即,故,即;
当时,不等式即,故,
综上,不等式的解集为:.
故选:A.
【点睛】本题的解题关键在于利用函数的单调性和奇偶性准备判断函数值的正负分布情况,即可解出不等式,突破难点.
8.已知函数若存在,且,使得成立,则实数的取值范围是( )
A.B.C.D.
【答案】A
【解析】首先确定时的对称轴,分别在和两种情况下,结合二次函数的对称性和数形结合的方式确定不等关系求得结果.
【详解】当时,是开口方向向下,对称轴为的二次函数,
①当,即时,由二次函数对称性知:必存在,使得;
②当,即时,若存在,使得,则函数图象需满足下图所示:
即,解得:,;
综上所述:.
故选:A.
【点睛】思路点睛:根据可知分段函数某一段自身具有对称轴或两个分段的值域有交集,通过函数图象进行分析即可确定结果.
二、多选题
9.下列各组中M,P表示不同集合的是( )
A.M={3,-1},P={3,-1}
B.M={(3,1)},P={(1,3)}
C.M={y|y=x2+1,x∈R},P={x|x=t2+1,t∈R}
D.M={y|y=x2-1,x∈R},P={(x,y)|y=x2-1,x∈R}
【答案】BD
【分析】选项A中,M和P的代表元素相同,是同集合;
选项B中,(3,1)与(1,3)表示不同的点,故M≠P;
选项C中,解出集合M和P;
选项D中,M和P的代表元素不同,是不同的集合.
【详解】选项A中,根据集合的无序性可知;
选项B中,(3,1)与(1,3)表示不同的点,故M≠P;
选项C中,M={y|y=x2+1,x∈R}=,P={x|x=t2+1,t∈R}=,故M=P;
选项D中,M是二次函数y=x2-1,x∈R的所有因变量组成的集合,而集合P是二次函数y=x2-1,x∈R图象上所有点组成的集合,故.
故选:BD.
10.给出命题:①的值域是;②的值域为;③的值域为;④的值域为,其中正确的命题的有( )
A.①B.②C.③D.④
【答案】AB
【分析】根据题意,结合值域的求法分别求出4个函数的值域,在一一判断即可.
【详解】对于①,,由,得,因此的值域是,故①正确;
对于②,因,所以,所以的值域为,故②正确;
对于③,令,则且,因此,因,所以的值域为,故③错;
对于④,,因,所以,因此的值域为,故④错.
故选:AB.
11.下列求最值的运算中,运算方法错误的有( )
A.当时,,故时,的最大值为;
B.当时,,当且仅当时取等号,解得或,又由,所以取,故时,的最小值为;
C.由于,故的最小值是;
D.,,且,由于,则,又,则,,且,的最小值为.
【答案】BCD
【分析】利用基本不等式的性质逐项检查即可,需要注意取等的条件,即“一正二定三相等”.
【详解】】解:对于A,符合基本不等式中的“一正二定三相等”,即A的运算方法正确;
对于B,当时,,
当且仅当,即时,等号成立,即B的运算方法错误;
对于C,取等的条件是,即,显然均不成立,即C的运算方法错误;
对于D,第一次使用基本不等式的取等条件为,而第二次使用基本不等式的取等条件为,两者不能同时成立,即D的运算方法错误.
故选:BCD.
12.关于函数的性质描述,正确的是( )
A.的定义域为B.的值域为
C.在定义域上是增函数D.的图象关于原点对称
【答案】ABD
【解析】由被开方式非负和分母不为,解不等式可得的定义域,可判断A;化简,讨论,,分别求得的范围,求并集可得的值域,可判断B;由,可判断C;由奇偶性的定义可判断为奇函数,可判断D;
【详解】对于A,由,解得且,
可得函数的定义域为,故A正确;
对于B,由A可得,即,
当可得,
当可得,可得函数的值域为,故B正确;
对于C,由,则在定义域上是增函数,故C 错误;
对于D,由的定义域为,关于原点对称,
,则为奇函数,故D正确;
故选:ABD
【点睛】本题考查了求函数的定义域、值域、奇偶性、单调性,属于中档题.
三、填空题
13.已知幂函数在为增函数,则实数的值为___________.
【答案】4
【分析】根据幂函数的定义和单调性,即可求解.
【详解】解:为递增的幂函数,所以,即,
解得:,
故答案为:4
14.已知条件:,条件:.若是的必要不充分条件,则实数的最大值是________.
【答案】
【分析】利用不等式的解法化简,根据必要不充分条件即可得出范围,进而求出最值.
【详解】条件:,化为:,解得.
∵是的必要不充分条件,,
∴.
则实数的取值范围是,
所以实数的最大值是
故答案为:.
15.已知定义在上偶函数在上是减函数,若,则实数的取值范围是________.
【答案】
【分析】根据偶函数的性质以及函数的定义域,列不等式组即可求解.
【详解】由,
则
所以,解得,
所以实数的取值范围是.
故答案为:
四、双空题
16.已知函数是定义在上的奇函数,当时,,其中.
(1)当时,__________;
(2)若的值域是,则的取值范围为__________.
【答案】 (﹣∞,-2]∪[2,+∞).
【分析】①运用奇函数的定义,计算即可得到所求值;
②由f(x)的图象关于原点对称,以及二次函数的值域,结合判别式与对称轴满足的条件列出不等式,解不等式即可得到所求范围.
【详解】①当时,,函数f(x)是定义在R上的奇函数,
f(﹣1)=﹣f(1)=﹣(1﹣2+3)=﹣2;
②由f(x)的图象关于原点对称,可得f(0)=0,又当x>0时,f(x)的对称轴为x=a,
所以若f(x)的值域是R,
则当x>0时,f(x)=必须满足:
,或,
解得a≥2或a≤-2,
即a的取值范围是(﹣∞,-2]∪[2,+∞).
故答案为【答题空1】;【答题空2】(﹣∞,-2]∪[2,+∞).
【点睛】本题考查了函数奇偶性的性质与判断,属于难题.
五、解答题
17.已知函数的定义域为,集合.
(1)当时,求;
(2)若是的充分条件,求的取值范围.
【答案】(1)或
(2)
【分析】(1)根据题意,求出函数的定义域,结合集合间的运算,即可求解;
(2) 根据题意,可知,分别讨论和两种情况,即可求解.
(1)
要使函数有意义,则,即,所以集合.
∵,,
或,
或.
(2)
由(1)得,若是的充分条件,即,
①当时,,即,满足题意;
②当时,由,得.
综上所述:的取值范围为.
18.已知函数().
(1)判断函数的奇偶性并给予证明;
(2)若函数满足,判断函数在区间的单调性,并用单调性的定义证明.
【答案】(1)奇函数,证明见解析;(2)在区间单调递减,证明见解析.
【解析】(1)求出函数的定义域,直接得到和的关系即可得结果;
(2)由题意解出的值,由单调性的定义即可得结果.
【详解】(1)函数是奇函数,证明如下:
的定义域为,
又
∴是定义在的奇函数.
(2)∵,即,解得:
∴,,且
∵,且,∴,,,
∴,
∴在区间单调递减.
【点睛】利用定义证明函数单调性的步骤:(1)取值;(2)作差;(3)化简;(4)下结论.
19.已知函数是定义域在上的奇函数,当时,.
(1)求出函数在上的解析式;
(2)画出函数的大致图象并写出函数的单调区间.
【答案】(1)
(2)作图见解析;单调递增区间是和,单调递减区间是和.
【分析】(1)根据题意,结合奇函数的性质,即可求解;
(2)根据题意,绘制函数的图象,即可判断单调性.
(1)
设,则,,
又是定义在上的奇函数,,
,又,.
(2)
如图,画出函数的图象,
由图可知函数单调递增区间是和,单调递减区间是和.
20.已知函数是幂函数,且.
(1)求函数的解析式;
(2)若函数在区间上有零点,求的取值范围;
(3)解关于的不等式:
【答案】(1)
(2)
(3)答案不唯一,具体见解析
【分析】(1)根据幂函数的定义及其单调性求出解析式;
(2)根据零点的定义得到,利用在上的值域求出的取值范围;
(3)对c分类讨论,分别求出不等式的解集.
(1)
因为函数是幂函数,
所以,解得或,
当时,,则,故不符题意,
当时,,则,符合题意,
所以;
(2)
由(1)得,
若,则,即.
令,在上是增函数,
,,即,
的取值范围是.
(3)
,∴当即时,解集为;
当即时,解集为;
当或即,此时两根分别为,,显然,∴不等式的解集为.
21.因新冠肺炎疫情影响,呼吸机成为紧缺商品,某呼吸机生产企业为了提高产品的产量,投入万元安装了一台新设备,并立即进行生产,预计使用该设备前年的材料费、维修费、人工工资等共为()万元,每年的销售收入万元.设使用该设备前年的总盈利额为万元.
(1)写出关于的函数关系式,并估计该设备从第几年开始盈利;
(2)使用若干年后,对该设备处理的方案有两种:案一:当总盈利额达到最大值时,该设备以10万元的价格处理;方案二:当年平均盈利额达到最大值时,该设备以50万元的价格处理;问哪种方案处理较为合理?并说明理由.
【答案】(1),3年;(2)第二种方案更合适,理由见解析.
【分析】(1)利用年的销售收入减去成本,求得的表达式,由,解一元二次不等式求得从第年开始盈利.
(2)方案一:利用配方法求得总盈利额的最大值,进而求得总利润;
方案二:利用基本不等式求得时年平均利润额达到最大值,进而求得总利润.
比较两个方案获利情况,作出合理的处理方案.
【详解】(1)由题意得:
由得即,
解得
由,设备企业从第3年开始盈利
(2) 方案一总盈利额
,当时,
故方案一共总利润,此时
方案二:每年平均利润
,当且仅当时等号成立
故方案二总利润,此时
比较两种方案,获利都是170万元,但由于第一种方案只需要10年,而第二种方案需要6年,故选择第二种方案更合适.
【点睛】本小题主要考查一元二次不等式的解法,考查基本不等式求最值,属于中档题.
22.已知函数是二次函数,不等式的解集为,且在区间上的最小值是4
(1)求的解析式;
(2)求在上的最大值的解析式;
(3)设,若对任意,均成立,求实数的取值范围.
【答案】(1);(2);(3)或.
【解析】(1)由一元二次方程与一元二次不等式的关系可设,再由二次函数的性质即可得解;
(2)由二次函数的图象与性质按照、分类,即可得解;
(3)转化条件为对恒成立,求得在上的最小值即可得解.
【详解】(1)因为解集为,
所以可设,且,
其图象对称轴为,开口向下,
则在区间上的最小值,解得,
所以;
(2)由(1)得函数的图象对称轴为,开口向下,
所以当时,;
当时,;
所以 ;
(3)由题意,,
因为对任意恒成立,
即对恒成立,
则,即对恒成立,
令,则,
该二次函数开口向下,对称轴为,
所以当时,,
故
所以,解得或.
【点睛】关键点点睛:解决本题的关键是分离参数,把恒成立问题转化为求最值的问题.
安徽省合肥市第六中学2023-2024学年高一上学期12月月考数学试卷(Word版附解析): 这是一份安徽省合肥市第六中学2023-2024学年高一上学期12月月考数学试卷(Word版附解析),文件包含安徽省合肥市第六中学2023-2024学年高一上学期12月月考数学试题Word版含解析docx、安徽省合肥市第六中学2023-2024学年高一上学期12月月考数学试题Word版无答案docx等2份试卷配套教学资源,其中试卷共20页, 欢迎下载使用。
安徽省合肥市第六中学2023-2024学年高一上学期12月月考数学试题: 这是一份安徽省合肥市第六中学2023-2024学年高一上学期12月月考数学试题,共10页。试卷主要包含了已知集合均是的子集,若,则,不存在函数满足,已知全集,集合,则“”是“”的,已知,则的大小关系是,已知实数,则下列命题中正确的是等内容,欢迎下载使用。
安徽省合肥市庐江县八校2023-2024学年高一上学期第二次集体练习数学试题(Word版附解析): 这是一份安徽省合肥市庐江县八校2023-2024学年高一上学期第二次集体练习数学试题(Word版附解析),共18页。试卷主要包含了单项选择题,多项选择题,解答题等内容,欢迎下载使用。

