2022年中考物理复习----欧姆定律--测量未知电阻
展开
这是一份2022年中考物理复习----欧姆定律--测量未知电阻,共28页。
欧姆定律--测量未知电阻
编辑人:许晨晨 审核人:彭甜凤
笔记:
测量未知电阻综合判断:
1.某同学设计了以下四种电路,其中电源电压不变且未知,R0是已知阻值的定值电阻.在实验中不拆改电路的情况下,能够测量出未知电阻Rx阻值的电路是
A.只有① B.只有②③ C.只有①②③ D.①②③④都可以
2.下列电路图中电源电压U保持不变,定值电阻R的阻值已知.在不改变电路的情况下,能测出未知电阻Rx的阻值的电路图是
A. B. C. D.
3.如图所示,几个同学在只有电流表或电压表时,利用一个已知阻值的电阻R0设计了四个测未知电阻Rx的电路,其中不可行的是( )
A. B. C. D.
4.要测量一个阻值约为200Ω的电阻阻值,能提供的器材有:新干电池两节、电流表一只(量程为0-0.6A、0-3A)、电压表一只(量程为0-3V、0-15V)、滑动变阻器R(100Ω 2A)一只、100Ω的定值电阻R0一只、开关和导线若干,利用上述器材设计以下电路,其中能粗略测出Rx阻值的是( )
A.B.C. D.
5.现有两个阻值不等的未知电阻R1和R2,为了比较它们的阻值大小,小明设计了如图所示的四种电路,其中可行的是( )
A.①② B.②③④ C.①②③ D.①③④
6.要测量一个阻值约为500Ω的电阻。提供的器材有:干电池两节,学生用电压表(量程为0~3V、0~15V)、学生用电流表(量程为0~0.6A、0~3A)、滑动变阻器R1(10Ω 1A)、电阻箱R2(0~9999Ω 5A)以及单刀双掷开关各一只,开关、导线若干。以下四种电路中,可以较准确地测出阻值的是( )
A.只有① B.② ③ ④ C.只有② D.① ④
7.下列电路中不能实现测量电阻Rx阻值的是(其中R0为已知阻值电阻)( )
A. B. C. D.
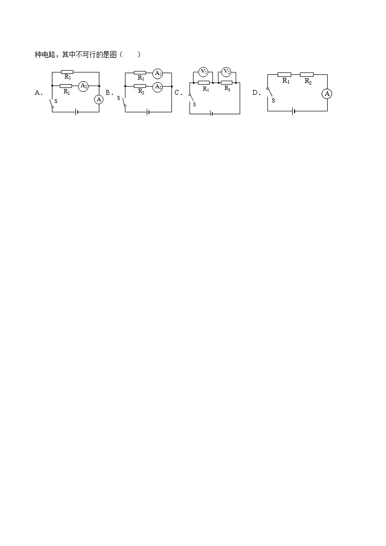
8.现有两个阻值不等的未知电阻R1和R2,为了比较它们的阻值大小,几个同学分别设计了如图所示的四种电路,其中不可行的是图( )
A.B.C. D.
法一:伏安法测量未知电阻
1.在“测量小灯泡电阻”实验中,小灯泡的额定电压 U = 2.5 V.
(1)请用笔画线代替导线,将图甲中的实物电路连接完整.________
(2)闭合开关后,发现电流表指针如图乙所示,其原因是_____.
(3)排除故障后,闭合开关,移动滑片 P 使电压表示数为 2.5V,电流表示数如图丙所示I =_____A,则小灯泡的电阻 R =_____Ω.
(4)如图丁所示,是小华同学利用图甲电路做实验时,测绘出的小灯泡的电流随电压变化的关系图象.在图甲电路中, 电源电压 U = 4.5V 保持不变,当滑动变阻器取值 Rp =10Ω时, 小灯泡电阻值为 RL =_____Ω(保留两位小数点)
2.现有两节新的干电池、电压表、电流表、滑动变阻器、开关、导线若干.在利用“伏安法”测量定值电阻R1阻值的实验中:
(1)请你按图甲所示的电路图,以笔画划线代替导线,将图乙中的电路连接完整. ______
(2)实验前为了保护电路,滑动变阻器的滑片应置于 _______ 端(选填“A”或“B“);
(3)闭合开关,无论怎样移动滑片P,发现电流表始终无示数,电压表有示数,其原因可能是 _______ (填符号)
A.滑动变阻器断路 B.Rx断路 C.Rx短路
(4)排除故障后,当电压表示数为2.7V时,电流表示数如图丙所示,则通过Rx的电流大小为 _______ .它的阻值是 _______ Ω.
(5)本实验要多次测量取平均值,是为了 _______ .
法二:单伏法测量未知电阻:
3.小聪同学用伏安法测电阻,实验电路图如图甲所示.
(1)该实验的原理是_________________.
(2)闭合开关S前,滑动变阻器滑片P应置于_____端(选填“a”或“b”).
(3)假如小聪同学用完好的器材按如图甲所示实验电路图正确连接电路,实验时正确操作,刚一“试触”,就发现电流表的指针迅速摆动到最大刻度,其原因可能是:
①_____________________;②___________________.
(4)小聪同学重新按图甲所示的实验电路图正确连接电路,进行实验,某次实验中电压表示数如图乙所示,电流表示数如图丙所示,被测电阻Rx=_____Ω.
(5)若滑动变阻器的最大阻值为R,被测电阻的阻值为Rx,实验过程中电流表突然烧坏,不能正常使用了,他想出一个方法,应用现有的器材,也能测出电阻Rx的阻值.
实验步骤如下:
①将滑动变阻器滑到a端,闭合开关S,读出电压表的读数,记为U;
②_______________________________;
③读出滑动变阻器的最大值R;
④则被测电阻Rx的阻值为:Rx=________(写出表达式).
4.东东同学学习了电学知识以后,选用三节新的干电池作为电源,并设计了如下的电学实验.
(1)探究导体中电流与导体电阻的关系.选用的定值电阻的阻止分别是5Ω、10Ω、15Ω、20Ω.
①按照甲图所示的电路图,把乙实物电路补充完整,当滑动变阻器的滑片向左滑动时,电流表示数增大
②闭合开关后,东东发现电流表没有示数,电压表有示数,电路中出现的故障可能是 _____ .
③东东排除故障后,把5Ω的电阻接入电路,闭合开关,适当调节滑片的位置,电流表的示数如图丙所示,其示数为 _____ A.
④断开开关S,把5Ω的电阻换成10Ω的电阻,再次闭合开关后,滑片应向 ______ 填“左”或“右”)端移动.
⑤在此实验中,滑动变阻器接入电路的阻值范围是 _____ .
(2)东东同学在电源电压未知,缺少电流表的情况下,设计了如图丁所示的电路图 (R0阻值已知),来测量未知电阻Rx的阻值.
①闭合S、S1,断开S2,适当调节滑片的位置,电压表示数为U1.
②闭合S、S2,断开S1,滑动变阻器滑片的位置保持不变,电压表示数为U2.
③未知电阻的阻值Rx= _____ (用字母表示).
5.某学习小组测量未知电阻Rx的阻值,他们分成A、B两组用不同方法进行实验。
(1) A组设计了如图甲所示的电路图。
①请用笔画线代替导线将实物电路图乙连接完整,要求滑动变阻器的滑片P向左滑动时电路中的电流变大。②在开关闭合之前,滑动变阻器的滑片P应滑至最_______端(选填“左”或“右”)。这样做的目的是____________。
③闭合开关S,将滑动变阻器的滑片P滑至某一位置后,电压表的示数为2.4V。电流表的示数I如图丙所示,则I=____ A。待测电阻Rx=________Ω。
(2)B组设计了如图丁所示的电路图,其中电源电压未知且不变,另一定值电阻的阻值为R0。
①闭合S1,断开S2时,电压表的示数为U1;
②闭合S1、S2时,电压表的示数为U2;
③电阻Rx=____ ( 用U1、U2、 R0表示)。
(3)评估A、B两组实验,使用A组实验的优点是_______________________。
法三:单安法测量未知电阻:
6.小明同学在伏安法测电阻Rx的实验中,连接了如图1所示的电路:
(1)本实验的原理__________。小明同学闭合开关,电流表____示数,电压表____示数;(“有”或“无”)
(2)他仔细检查电路,发现有一根导线连接错误,请你在错误的导线上画“×”,并用画出正确的导线;
(3)正确连接电路后,先测得三组对应的电压值和电流值,最后算出电阻的平均值,这样做的目的是__________________;
(4)将电阻Rx换成小灯泡,重复上述实验,发现几次实验测得的小灯泡的电阻相差比较大,原因可能是______________;
(5)某实验小组进行实验时不慎将电压表损坏,他们利用一个阻值已知的定值电阻R0、一个电流表和开关若干个,设计了如图丙所示的电路,也测出了待测电阻Rx的阻值(电流表量程符合要求,电源电压未知)。他们的实验步骤如下:
①正确连接电路,只闭合开关S、S1,记录电流表的示数为I1;
②只闭合开关S、S2,记录电流表的示数为I2;
③待测电阻阻值的表达式为Rx=______(用测得量和已知量的字母表示)。
7.用伏安法测电阻,实验电路如图甲所示.
(1)该实验的原理:_____,连接电路时,开关应该是_____的.
(2)一同学在实验中的某次测量,电压表与电流表的读数如图乙所示,则此时待测电阻的阻值为___Ω.
(3)实验中,如果电压表突然损坏,已知滑动变阻器的最大阻值为R,电源电压保持不变,但电源电压未知,实验电路图已设计如图丙所示,请根据实验过程写出U、Rx的表达式.实验过程:
①先将滑片移至最右端,测出此时的电流I1,则电源电压U=I1Rx;
②再将滑片移至最左端,测出此时的电流I2,则电源电压U=_____.
(4)Rx的表达式:Rx=_____.
法四:双安法测量未知电阻:
8.某同学设计了如图甲所示的电路来测量未知电阻Rx的阻值,R0为阻值已知的定值电阻。
(1)请用笔画线代替导线,按照电路图,将图乙中的实物电路连接完整。(导线不能交叉)
(2)连接好电路后,依次闭合开关S2、S1,发现电流表A1示数超过最大测量值,电流表A2无示数,接下来应该立即进行的操作是_____。(填序号)
A.更换电流表A2 B.检查Rx的接线柱是否拧紧 C.断开开关S1
(3)检查并修正电路后,依次闭合开关S2、S1,读出此时电流表A1和A2的示数,分别记为I1和I2,则Rx=_____(用I1、I2和R0表示)。
(4)用这种方法测量电阻无法实现多次测量;为了实现多次测量,请你写出一条改进措施:_____。
9.利用如图所示的电路来测量未知电阻的阻值,的阻值已知.
(1)将实验过程补充完整:
①对照电路图连接电路,闭合开关,记下电流表的示数为,则电源电压______;
②断开开关,再闭合开关,记下电流表的示数为;
③断开开关,整理器材.
(2) 用测得的物理量和已知物理量表示待测电阻______.
法五:双伏法测量未知电阻:
10.用如图所示的电路来测量未知电阻Rx的阻值,R0阻值已知.
(1). 将实验过程补充完整:
a.对照电路图连接电路,并将滑动变阻器的滑片滑至阻值最大处;
b.闭合开关,调节________,分别读出________.
c.断开开关,整理器材.
(2). 用测量所得的物理量和已知量符号表示出待测电阻Rx=________.
(3). 写出本实验中滑动变阻器的作用:①________;②________.
11.在“测未知电阻Rx的阻值”实验中,请完成下列相关问题:
(1)用笔画线代替导线将图甲中的实物连接完整___________;
(2)某次测量时,电压表和电流表的示数如图乙所示,根据此次数据我们可求得未知电阻Rx阻值为______Ω;
(3)另有同学设计了下列几种测量方案。方案中定值电阻的阻值为R0;
① 方案一的电路中,闭合开关S,如果电压表V1和V2的读数分别为U1和U2,则电阻Rx的阻值表达式为Rx=_____________________;
② 方案二的电路中,闭合开关S,如果电流表A1和A2的读数分别为I1和I2,则电阻Rx的阻值表达式为Rx=___________________。
法六:等效替代法测量未知电阻:
12.小明和小虎设计如图甲所示的电路测量未知电阻的阻值.实验器材有:电源(电压4.5V)、滑动变阻器R(0~20Ω)、电阻箱R0(0~999.9Ω)、电流表、单刀双掷开关及导线若干.
(1)请根据图甲所示的电路,在图乙中用笔画线代替导线将实物图连接完整._________
(2)小明将S拨至“1”,调节滑动变阻器的滑片至某一位置,电流表示数为0.36A.再将S拨至“2”,调节电阻箱,使电流表示数为_______A,此时电阻箱的示数如图丙所示.则待测电阻的阻值=_________Ω.
(3)把电阻箱的阻值从10.0Ω调到丙图所示的阻值时,小虎想先把“×10”档从1调到0,再调“×1”档.你认为他的想法是否妥当?答:_________(选填“是”或“否”),理由是:________________________.
(4)测量结束断开开关后,应首先拆除________(选填“电源”或“电流表”)两端导线.
13.小明同学想利用最少的元件测量未知电阻Rx的阻值,于是他选择了电压为6V的电源、电压表、“10Ω 2A”的滑动变阻器、开关各一个、导线若干。
(1)实验设计完成后(电路图未画出),小明按规范步骤进行操作。闭合开关,电压表示数为2.8V;移动滑片至中点位置时,电压表示数为1.8V。则电压表测量的是_______两端的电压,根据以上两组数据,小明同学测定的Rx的阻值为________Ω(计算电阻时精确到0.1Ω)
(2)实验结束后,小明又设计了如图电路测量额定电流为I额的小灯泡L的额定功率。电源电压可调,滑动变阻器A、B(最大阻值分别为R1、R2)。请帮助他完成实验设计。
①只闭合开关S和S2,移动A滑片,使电流表的示数为I额;
②只闭合开关S和S1,保持滑动变阻器______的滑片位置不动,移动另一个滑动变阻器滑片,使电流表的示数为I额;
③保持变阻器_______的滑片位置不动,将另一个滑动变阻器滑片移到最左端,电流表的示数为I1,再将此滑动变阻器的滑片移到最右端,电流表的示数为I2,则小灯泡额定功率为_________。(用I额、I1、I2、Rl、R2中的字母表示)。
13.小明同学想利用最少的元件测量未知电阻Rx的阻值,于是他选择了电压为6V的电源、电压表、“10Ω 2A”的滑动变阻器、开关各一个、导线若干。
(1)实验设计完成后(电路图未画出),小明按规范步骤进行操作。闭合开关,电压表示数为2.8V;移动滑片至中点位置时,电压表示数为1.8V。则电压表测量的是_______两端的电压,根据以上两组数据,小明同学测定的Rx的阻值为________Ω(计算电阻时精确到0.1Ω)
(2)实验结束后,小明又设计了如图电路测量额定电流为I额的小灯泡L的额定功率。电源电压可调,滑动变阻器A、B(最大阻值分别为R1、R2)。请帮助他完成实验设计。
①只闭合开关S和S2,移动A滑片,使电流表的示数为I额;
②只闭合开关S和S1,保持滑动变阻器______的滑片位置不动,移动另一个滑动变阻器滑片,使电流表的示数为I额;
③保持变阻器_______的滑片位置不动,将另一个滑动变阻器滑片移到最左端,电流表的示数为I1,再将此滑动变阻器的滑片移到最右端,电流表的示数为I2,则小灯泡额定功率为_________。(用I额、I1、I2、Rl、R2中的字母表示)。
(3)小明还设计了如图所示的电路,测出另一小灯泡正常发光时的电阻,已知滑动变阻器 R1 的最大阻值为 Rm,小灯泡正常工作电压为 U 额,请完成下列实验步骤:
A.只闭合开关_______,调节 R1 的滑片,使电压表的示数为 U额
B.只闭合开关_______,调节_______的滑片,使电压表的示数为 U额
C.接下来他将 R1 的滑片调至最左端,记下电压表示数 U1;再将 R1 的滑片调至最右端,记下电压表示数为U2,则小灯泡正常工作的电阻 R=______________(用 Rm、U1、U2 表示)
参考答案
1.C
【详解】
由图知,
①.只闭合S1时,电路是只有R0的基本电路,电流表测量通过R0的电流I0;再闭合S2,两只电阻并联,电流表测量干路电流I,根据电源电压不变列式I0R0=(I﹣I0)Rx可求出Rx的阻值,故能测出Rx阻值;
②.只闭合S2时,两电阻串联,电流表测电路中电流I1;两开关都闭合时只有R0接入电路中,电流表测此时电路中电流I0,根据电源电压不变列式I1(R0+Rx)=I 0R 0可求出Rx的阻值,故能测出Rx阻值;
③.闭合开关S、S2,两只电阻串联,电压表测量电源电压为U;闭合S,断开S2,闭合S1,电压表测量电阻R0两端电压U0,根据电路电流相等列式=可求出Rx的阻值,故能测出Rx阻值;
④.闭合开关S,S1接1,两只电阻串联,电压表测量R0两端电压为U0;S1接2,电压表反接,不能测量Rx两端电压Ux,仅有一个电压值,不能测出Rx阻值.
故C符合题意.
2.A
【详解】
A.定值电阻R与未知电阻Rx串联,流过它们的电流相等,单刀双掷开关打到1时,测出R与Rx的串联电压U1,开关打到2时测出电阻Rx的电压Ux,由串联电路特点求出定值电阻R两端电压,由欧姆定律求出流过Rx的电流,则该电路能测出电阻Rx的阻值;
B.不论怎样闭合、断开各开关,都不能同时测出Rx的电压,且不同状态时,电流表的电流方向不同,所以不能用该电路测出电阻Rx的阻值;
C.闭合开关S2,电压表上端为正接线柱,下端为负接线柱;只闭合开关S3,电压表上端为负接线柱,下端为正接线柱,又不能更改电路,所以其中有一次电压表接线柱一定接反,不能读出电压表示数,不能测出待测电阻阻值;
D.无论单刀双掷开关打到何处都不能测出Rx的电压与电流,故不能用该电路测出Rx的阻值。
故选A。
3.D
【详解】
A.Rx和定值电阻串联,电压表U1测量定值电阻两端的电压,根据求出通过定值电阻的电流,根据串联电路电流处处相等,通过Rx电流等于通过定值电阻电流
Ix=I0
电压表U2测量Rx两端的电压Ux,根据求出电阻,A项不符合题意;
B.开关S和S1都闭合时,电压表测量电源电压;开关S闭合S1断开时,电压表直接测量Rx两端的电压。根据串联电路总电压等于各串联导体电压之和,求出定值电阻两端的电压,根据求出通过定值电阻的电流。根据串联电路电流处处相等,通过Rx电流等于通过定值电阻电流
Ix=I0
根据求出电阻,B项不符合题意;
C.Rx和定值电阻并联,电流表A1测量定值电阻的电流,根据U=IR求出定值电阻两端的电压,根据并联电路各支路电压相等,Rx两端电压等于定值电阻两端的电压
Ux=U0
电流表A2测量Rx的电流Ix,根据求出电阻,C项不符合题意;
D.Rx和定值电阻串联,电流表测量串联电路的电流,不能直接或间接测量Rx两端的电压,不能求出Rx电阻,D项符合题意。
故选D。
4.B
【详解】
两节新干电池串联组成电源的电压为3V。
A.由电路图可知,R与Rx串联,电压表测Rx两端的电压,电流表测电路中的电流,当滑动变阻器接入电路中的电阻为零时,电路中的电流最大为
I==0.015A
该电流小于0-0.6A电流表的分度值,所以电流表的示数无法准确读出,不能测出Rx阻值,故A不可行;
B.由电路图可知,两开关均闭合时,电路为Rx的简单电路,电压表测电源两端的电压U;当只断开上面开关时,R0与Rx串联,电压表测Rx两端的电压Ux,因串联电路中各处的电流相等,所以
I=
因两电阻的阻值相差不大,由串联电路的分压特点可知,两电压表的示数均可准确读出,能测出Rx阻值,故B可行;
C.由电路图可知,两开关均闭合时,R0与Rx并联,电流表测通过Rx的电流;当只断开上面开关时,电路为Rx的简单电路,电流表测通过Rx的电流;虽然Rx两端电压等于电源电压3V,但由于电路中电流太小,所以不能测出Rx阻值,故C不可行;
D.由电路图可知,上面开关断开、下面开关闭合时,电路为R0的简单电路,电流表测电路中的电流,此时电路中的电流
I=
两开关均闭合时,R0与Rx并联,电流表测干路电流,此时电流表的示数
I′=0.045A
两次电流表的示数太小,相差不大,不易读出示数,所以不能测出Rx阻值,故D不可行.
故选B。
5.D
【详解】
①从图中可以看到,这是一个并联电路,未知电阻R1和R2两端电压相同,电流表均可显示流过两电阻的电流大小,然后根据即可比较它们的阻值大小,①符合题意;
②从图中可以看到,这是一个串联电路,只知道流过两电阻的电流大小,不能确定电压,是不能比较它们的阻值大小,②不合题意;
③从图中可以看到,这是一个串联电路,流过两电阻的电流大小相等,两电压表能够知道两电阻的电压大小,根据即可比较它们的阻值大小,③符合题意;
④ 从图中可以看到,这是一个并联电路,未知电阻R1和R2两端电压相同,电流表A测的是干路电流,电流表A1测的是流过电阻R1的电流,根据并联电路电流规律可知电阻R2的电流大小,然后根据即可比较它们的阻值大小,④ 符合题意;
故选D。
6.A
【详解】
①方案中与电阻箱串联,由于电阻箱阻值范围0~9999Ω,电阻箱可以调一个跟阻值成倍数关系的阻值,利用单刀双掷开关,测出和,根据串联电路电阻之比等于电压之比得
算出的值,所以①方案可行;
②③两节干电池串联电压只有3V,大约500Ω,根据可得电路中的电流大约为
题目给出的电流变无法测出该电流,故②③两个实验方案不可行;
④滑动变阻器最大阻值10Ω,根据串联电路电阻之比等于电压之比,可以算出当滑动变阻器和串联
即
解得
题中给的电压表无法测出该电压,故④实验方案不可行。
故选A。
7.C
【详解】
A.电压表测得Rx的电压,电流表测得电路的电流可根据
计算出Rx阻值,故A不符合题意;
B.分别测得Rx,R0的电压根据串联电路
可计算出Rx阻值,故B不符合题意;
C.当S断开电压表测得电源电压,当S闭合Rx被短路,电压表测得同样为电源电压,因此无法得知Rx两端电压与电流的关系,所以无法得知Rx阻值,故C符合题意;
D.两电阻并联,A1,A2分别测得Rx,R0的电流,根据并联电路
可计算出Rx阻值,故D不符合题意。
故选C。
8.D
【详解】
A.由图得R1和R2并联,电流表A测干路电流,电流表A2测流过R2电流,则可根据并联分流得到流过两个电阻电流大小,再根据并联电路电流之比等于电阻的反比,可得出两电阻大小关系,故A可行,不符合题意;
B.由图得R1和R2并联,电流表A1测流过R1电流,电流表A2测流过R2电流,根据并联电路电流之比等于电阻的反比,可得出两电阻大小关系,故B可行,不符合题意;
C.由图得R1和R2串联,电压表V1测R1两端电压,电压表V2测R2两端电压,根据串联电路电压之比等于电阻之比,可得出两电阻大小关系,故C可行,不符合题意;
D.由图得R1和R2串联,电流表测整体电流,由于串联电路不论电阻大小,电流处处相等,则无法得出两电阻大小关系,故D不可行,符合题意。
1.见解析 电流表正负接线柱接反了 0.5 5 2.85 或 2.86
【详解】
(1)实验中电压表应与灯泡并联,灯泡电压为2.5V,所以连接电压表的“3V”接线柱到灯泡的右端即可,如图:
(2)闭合开关后,发现电流表指针如图乙所示,指针反偏,说明电流表的正负接线柱接反了.
(3)排除故障后,闭合开关,移动滑片 P 使电压表示数为 2.5V,电流表示数如图丙所示,电流表使用小量程,分度值为0.02A,读数即I =0.5A,则小灯泡的电阻:
.
(4)如图丁所示,是小华同学利用图甲电路做实验时,测绘出的小灯泡的电流随电压变化的关系图象.在图甲电路中,电源电压 U = 4.5V 保持不变,当滑动变阻器取值 Rp =10Ω;
由如图丁知,当灯两端电压为1V时,电流为0.35A,此时滑动变阻器两端的电压为:
,
电源电压:
所以此时符合题中条件,则小灯泡电阻值为:
.
点睛:注意最后一问中,限于题中条件,只能通过丁图,结合欧姆定律找出符合条件的电压和电流.
2. B B 0.3A 9 减小误差
【详解】
(1)滑动变阻器下面的接线柱已经选择,上面选择哪一个都行,如下图;
;
(2)实验前,为保护电路,应将滑动变阻器的滑片置于阻值最大处,结合实物图可知,滑片应滑到B端;
(3)闭合开关,移动滑动变阻器滑片P,发现电流表无示数,说明电路有地方发生断路;电压表有示数,说明电阻Rx断路;故B 正确.
(4)电流表量程为0~0.6A,指针指在0.3A,故电流为0.3A,则定值电阻的阻值:;
(5)本实验要多次测量取平均值,是为了减小误差.
【点睛】
本题用伏安法测量某定值电阻R的阻值,考查电路的连接、注意事项、故障分析、电阻计算及数据的处理等知识,综合性较强,学生要熟练掌握.
3.R= b 电源电压过大 选用电流表的量程太小 8 将滑动变阻器滑到b端,闭合开关S,读出电压表的读数为U1
【详解】
(1)测量电阻的原理是欧姆定律的变形公式R=;
(2)由图可知,滑动变阻器的下面接了左边的接线柱,为保护电路,闭合开关前,应将滑片移至右边,即b端,使其阻值最大;
(3)操作正确,刚一“试触”,就发现电流表的指针迅速摆动到最大刻度,说明电路中的电流较大,可能是电源电压过大或电流表的量程选择偏小;
(4)由图乙可知,电压表的量程为0~3V,分度值为0.1V,示数为2.4V;由图丙可知,电流表的量程为0~0.6A,分度值为0.02A,示数为0.3A;则R==8Ω;
(5)被测电阻与滑动变阻器串联,电压表与被测电阻并联,开关串联在电路中,如图所示:
将滑动变阻器滑到a端,闭合开关S,读出电压表的读数,记为U;
将滑片移至b端,闭合开关S,读出此时电压表的示数为U1,则滑动变阻器两端的电压为U-U1;则电路中的电流Ix=I=;则Rx=.
4. 电阻断路(或电流表短路) 0.4; 右 6.25Ω﹣25Ω
【详解】
(1)①[1]滑动变阻器的滑片向左滑动时,电流表示数增大,即电阻变小,故变阻器左下接线柱连入电路中,如下所示:
②[2]闭合开关后,东东发现电流表没有示数,电压表有示数,电路中出现的故障可能是电阻断路(或电流表短路);
③[3]东东排除故障后,把5Ω的电阻接入电路,闭合开关,适当调节滑片的位置,由图丙知道,电流表选用小量程,分度值为0.02A,其示数为0.2A;
④[4]由串联分压原理知道,将定值电阻由5Ω改接成10Ω的电阻,电阻增大,其分得的电压增大;探究电流与电阻的实验中应控制电压不变,即应保持电阻两端的电压不变,由串联电路电压的规律知道,应增大滑动变阻器分得的电压,即应增大滑动变阻器连入电路中的电阻,所以,滑片应向右端移动;
⑤[5]当电阻5Ω的电阻接入电路,最大电流为0.4A,由串联电阻的规律和欧姆定律知道,变阻器连入电路的最小电阻是:
;
根据串联电路的规律及分压强原理知道:
,
即
解得:R滑大=25Ω;即在此实验中,滑动变阻器接入电路的阻值范围是6.25Ω﹣25Ω;
(2)[6]在步骤①中,电压表测待测电阻和定值电阻的总电压,在步骤②中,电压表定值电阻的总电压,因此时各电阻的大小和电压不变,根据串联电路电压的规律,待测电阻的电压为U1﹣U2,由分压原理知道:
,
所以,未知电阻的阻值是:
.
5. 右 保护电路 0.24 10 见解析
【详解】
(1)①[1]根据滑片向左滑动,电路中电流变大,灯泡变亮,则接入电阻应变小,如图所示
②[2][3]为保护电路,闭合开关前需将滑片放在阻值最大处即最右端。
③[4]由图像可知电流表使用0-0.6A量程,分度值为0.02A,示数为0.24A。
[5]待测电阻阻值为
(2) [6]①闭合S1,断开S2时,电压表直接串联在电路中,电压表的示数U1即为电源电压。
②闭合S1、S2时,两电阻串联,电压表测Rx两端的电压,为U2。
③则电阻
[7]A组实验可以通过调节滑动变阻器进行多次测量,实验结论更具有普遍性。
6. 无 有 减小误差 小灯泡的电阻受温度影响
【详解】
(1)[1]伏安法测电阻Rx的实验的原理是欧姆定律表达式的变形公式。
[2][3]图1中的电路中,电压表串联在电路中,电流表无示数,电压表与电源连通,电压表有示数。
(2)[4]原电路中,电流表与电阻并联,电压表串联在电路中是错误的,电压表应与电阻并联,电流表应与电阻串联,修改后如图所示
(3)[5]正确连接电路后,闭合开关,调节滑动变阻器滑片P,观察到电压表和电流表示数如图2所示,电压表选用小量程,分度值为0.1V,电压表示数为2.5V,电流表选用小量程,分度值为0.02A,电流为0.4A;由可得待测电阻R的阻值
[6]这里的待测电阻的阻值是一个定值电阻,先测得其三组对应的电压值和电流值,最后算出电阻的平均值,是为了减小误差。
(4)[7]由于小灯泡的电阻受温度影响,将待测电阻Rx换成小灯泡,测得的小灯泡电阻会随着通电时间受热而发生变化,不再是一个定值。
(5)[8]在①中,闭合开关S、S1,两电阻并联,电流表测干路电流;在②中,闭合开关S、S2,两电阻依然并联,但电流表测Rx的电流;因通过待测电阻的电流不变,由并联电路电流的规律可得通过定值电阻的电流为
I0=I1−I2
由欧姆定律可知电源电压为
U=I0R0=(I1−I2)R0
由欧姆定律可推出待测电阻阻值的表达式为
7. 断开 8 I2Rx+I2R
【详解】
(1)[1] 伏安法是一种较为普遍的测量电阻的方法,利用欧姆定律的变形式:来测出电阻值;
[2] 为了保护电路元件,在连接电路时,开关要断开;
(2)[3]由图乙可知,电压表选用小量程,分度值为0.1V,小灯泡两端的电压U=2.4V;电流表选用小量程,分度值值为0.02A,通过小灯泡的电流I=0.3A,由可得,此时待测电阻的阻值:
;
(3)[4]如果电压表突然损坏,已知滑动变阻器的最大阻值为R,电源电压保持不变,但电源电压未知,实验电路图已设计如图丙所示,实验过程:
①测量时,先将滑片移至最右端,此时Rx单独接入电路中,测出此时的电流I1,则电源电压:
U=I1Rx;
②将滑片移至最左端,此时Rx与R串联,测出此时的电流I2,由串联分压可知:
U=URx+UR
即电源电压为:
U=I2Rx+I2R;
(4)[5]因电源电压保持不变,所以
I1Rx=I2Rx+I2R
则Rx的表达式为:
.
8. C 在干路中串联滑动变阻器,改变电阻两端的电压
【详解】
(1)[1]电流表A2与R0串联,电流从电流表正接线柱进,负接线柱流出。电流表一端与R0相连,另一端与开关S2右端相连,如图所示
(2)[2]电流表A1示数超过最大测量值,说明干路电流过大,为了保护电路,应立即断开干路开关S1,故选C。
(3)[3]电阻Rx和R0并联接在电源两端,其两端电压相等且为电源电压,由题意知,Rx两端电压为
根据并联电路的电流特点可知,通过Rx的电流为
根据可得,Rx的阻值为
(4)[4]为了实现多次测量,需要改变电阻两端的电压,所以在干路中加滑动变阻器,改变电阻两端的电压进行多次实验。
9.
【详解】
(1)[1]只闭合开关时电流表的示数为通过定值电阻的电流,则电源电压;
(2)[2]只闭合开关时电流表的示数为通过待测电阻的电流,并联电路各个支路两端的电压相等,则
.
10.滑动变阻器 保护电路 可以进行多次测量
【详解】
(1)连接好电路,闭合开关,调节滑动变阻器的滑片,测出定值电阻和被测电阻两端的电压U0,Ux,(2)串联电路电流相等,所以:,即=,(3)闭合开关前,滑片处于最大阻值处,电路电阻最大,电流最小,对电路起保护作用.定值电阻的阻值不变,不同电压下,阻值不变,为了减小误差,需要移动滑片,多次测量求平均值.
【点睛】
(1)实验过程缺少电流表测量电流,而是利用定值电阻和电压表,测量定值电阻的电压求电流,来获得被测电阻的电流,又能测出被测电阻的电压,根据R=求电阻.(2)电路中滑动变阻器的作用:闭合开关前滑片处于最大阻值处,保护电路;移动滑片,改变连入电路电阻,改变被测电阻的电压和电流,完成多次测量.
11. 5 R0
【详解】
(1)[1]电压表与电阻并联,因为电源由2节干电池组成,总电压为3V,所以电压表可选择0~3V的量程,如下图所示:
(2)[2]由图乙可知,电压表的量程为0~3V,分度值为0.1V,示数为1.8V;电流表的量程是0~0.6A,分度值为0.02A,示数为0.36A,电阻Rx阻值为
Rx==5Ω
(3)①[3]方案一的电路中,当闭合开关S,两电阻串联,如果电压表V1和V2的读数分别为U1和U2,由欧姆定律和串联电路各处的电流相等得到
Rx=R0
②[4]方案二的电路中,闭合开关S,两电阻并联,电流表A2测R0的电流,A1测干路电流,由并联电路电流的规律,通过待测电阻的电流为
Ix=I1-I2
根据欧姆定律和并联电路各支路电压相等得到
(I1-I2)Rx=I2R0
Rx=
12. 0.36 9 否 电阻箱的电阻突然变小,可能导致电路电流太大损坏元件 电源
【详解】
(1)根据图甲所示的电路图知道,待测电阻与电阻箱并联,滑动变阻器的滑片右移时,接入电路的电阻变大,所以,滑动变阻器左下接线柱接入电路,依照电路图实物连接如图:
(2)小明将S拨至“1”,调节滑动变阻器的滑片至某一位置,电流表示数为0.36A,此时保持滑动变阻器的滑片的位置不变,再将S拨至“2”,调节电阻箱,使电流表示数为0.36A,则电阻箱的示数即是待测电阻的阻值,由图丙知道,电阻箱的示数是:
0.1×0+1×9+10×0+100×0=9Ω,
所以待测电阻的阻值是:=9Ω;
(3)小虎的想法不妥当,因为电阻箱的电阻突然变小,可能导致电路电流太大损坏元件;
(4)测量结束断开开关后,在拆除电路时,为了安全,应断开开关,首先拆除电源两端的导线.
13.滑动变阻器 11.6Ω A B
【详解】
(1)[1]测电阻时,滑动变阻器和未知电阻应串联,一开始滑动变阻器阻值最大,电压表为2.8V,减小滑动变阻器电阻,电压表示数也变小,根据串联分压原理,电压表和滑动变阻器并联。
[2]闭合开关前,变阻器连入电路中电阻最大,为10Ω,根据欧姆定律,在小明的第一次操作中,电路中的电流
根据串联电路的规律及欧姆定律,待测电阻为
在小明的第二次操作中,电路中的电流
根据串联电路的规律及欧姆定律,待测电阻
为减小误差,将两次测量的平均值作为测量结果
(2)[3][4][5]闭合开关S和S2,移动A滑片,使电流表的示数为I额,只闭合开关S和S1,保持A滑片位置不动,移动B滑片,使电流表的示数为I额,保持变阻器B的滑片位置不动,将另一个滑动变阻器滑片移到最左端,电流表的示数为I1,再将此滑动变阻器的滑片移到最右端,电流表的示数为I2,在①中,R1与灯串联,灯正常发光,在②中,R1与R2串联,因为电路中电流仍为I额,所以R2=RL,保持R2滑片位置不动,将另一个滑动变阻器R1滑片移到最左端,电流表的示数为I1,再将此滑动变阻器R1的滑片移到最右端,电流表的示数为I2,由串联电路特点和欧姆定律可得
解得
小灯泡额定功率的表达式为
相关试卷
这是一份专题36 测量未知电阻阻值(易)2023-2024学年初中物理中考专项复习,文件包含专题36测量未知电阻阻值易原卷版docx、专题36测量未知电阻阻值易解析版docx等2份试卷配套教学资源,其中试卷共23页, 欢迎下载使用。
这是一份专题36 测量未知电阻阻值(难)2023-2024学年初中物理中考专项复习,文件包含专题36测量未知电阻阻值难原卷版docx、专题36测量未知电阻阻值难解析版docx等2份试卷配套教学资源,其中试卷共26页, 欢迎下载使用。
这是一份中考物理二轮专项复习核心考点突破与必刷题练习专题36 测量未知电阻阻值(含解析),共17页。

