高考物理复习 课时过关题24 电容器与电容带电粒子在电场中的运动(含答案解析)
展开2020(人教版)高考物理复习 课时过关题24
电容器与电容带电粒子在电场中的运动
1.平行板电容器两个带电极板之间存在引力作用,引力的大小与内部场强E和极板所带电荷量Q的乘积成正比.今有一平行板电容器两极板接在恒压直流电源上,现将A极板下移使A、B两板间距变为原来的,则A、B两极板之间的引力与原来的比值是( )

A. B. C. D.
2.如图所示,电容器极板间有一可移动的电介质板,介质与被测物体相连,电容器接入电路后,通过极板上物理量的变化可确定被测物体的位置,则下列说法中正确的是( )

A.若电容器极板间的电压不变,x变大,电容器极板上带电荷量增加
B.若电容器极板上带电荷量不变,x变小,电容器极板间电压变大
C.若电容器极板间的电压不变,x变大,有电流流向电容器的正极板
D.若电容器极板间的电压不变,x变大,有电流流向电容器的负极板
3.如图所示,一平行板电容器充电后与电源断开,负极板接地,在两极板间有一正电荷(电荷量很小)固定在P点.以E表示两极板间的电场强度,U表示电容器的电压,Ep表示正电荷在P点的电势能.若保持负极板不动,将正极板移到图中虚线所示位置,则( )

A.U变小,Ep不变
B.E变大,Ep不变
C.U变大,Ep变大
D.U不变,Ep变大
4.静电计是在验电器的基础上制成的,用其指针张角的大小来定性显示其金属球与外壳之间的电势差大小.如图所示,A、B是平行板电容器的两个金属板,G为静电计.开始时开关S闭合,静电计指针张开一定角度,为了使指针张开的角度增大些,下列采取的措施可行的是( )

A.断开开关S后,只将A、B分开些
B.保持开关S闭合,只将A、B两极板分开些
C.保持开关S闭合,只将A、B两极板靠近些
D.保持开关S闭合,只将滑动变阻器触头向右移动
5.如图所示,一带电小球悬挂在竖直放置的平行板电容器内,当开关S闭合,小球静止时,悬线与竖直方向的夹角为θ,则( )

A.当开关S断开时,若减小平行板间的距离,则夹角θ增大
B.当开关S断开时,若增大平行板间的距离,则夹角θ增大
C.当开关S闭合时,若减小平行板间的距离,则夹角θ增大
D.当开关S闭合时,若减小平行板间的距离,则夹角θ减小
6.如图所示,电容器极板间有一可移动的电介质板,电介质与被测物体相连,电容器接入电路后,通过极板上的物理量变化可确定被测物体的位置。则下列说法正确的是( )

A.若电容器极板间的电压不变,x变大,电容器极板上电荷量增加
B.若电容器极板上电荷量不变,x变小,电容器极板间电压变大
C.若电容器极板间的电压不变,x变大,有电流流向电容器的正极板
D.若电容器极板间的电压不变,x变大,有电流流向电容器的负极板
7.如图所示,水平金属板A、B分别与电源两极相连,带电油滴处于静止状态.现将B板右端向下移动一小段距离,两金属板表面仍均为等势面,则该油滴( )

A.仍然保持静止
B.竖直向下运动
C.向左下方运动
D.向右下方运动
8.在真空中上、下两个区域均为竖直向下的匀强电场,其电场线分布如图所示,有一带负电的微粒,从上边区域沿一条电场线以速度v0匀速下落,并进入下边区域(该区域的电场足够广),在如图所示的速度—时间图象中,符合微粒在电场内运动情况的是( )


9.带等量异种电荷的金属板M、N平行正对水平放置,间距为d,M板中心有一小孔(小孔对电场的影响可忽略不计).一带电微粒从距离M板上方高d处的P点由静止开始下落,穿过M板的小孔后刚好到达N板处的Q点(但未触及N板)而返回.不计空气阻力,忽略金属板正对部分之外的电场.现将M板向上平移的距离,再让原带电微粒从P点由静止开始下落.则微粒的运动情况为( )

A.落到N板上
B.到达与N板相距d就返回
C.到达与N板相距就返回
D.仍刚好到达Q点而返回
10.如图所示,水平放置的平行板电容器,两极板间距为d,带负电的微粒质量为m、带电荷量为q,它从上极板的边缘以初速度v0射入,沿直线从下极板N的边缘射出,则( )

A.微粒的加速度不为零
B.微粒的电势能减少了mgd
C.两极板间的电势差为
D.M板的电势低于N板的电势
11. (多选)如图所示,A、B为两块水平放置的金属板,通过闭合开关S分别与电源两极相连,两板中央各有一个小孔a和b,在a孔正上方某处一带电质点由静止开始下落,不计空气阻力,该质点到达b孔时速度恰为零,然后返回.现要使带电质点能穿出b孔,可行的方法是( )

A.保持S闭合,将A板适当上移
B.保持S闭合,在两板左边之间插入电介质
C.先断开S,再将A板适当下移
D.先断开S,在两板左边之间插入电介质
12. (多选)如图所示,沿水平方向放置的平行金属板a和b分别与电源的正、负极相连,a、b板的中央沿竖直方向各有一个小孔,闭合开关S后,带正电的液滴从小孔正上方的P点由静止自由落下,当液滴穿过b板小孔到达a板小孔时速度为v1,现使a板不动,在开关S仍闭合或断开的情况下b板向上或向下平移一小段距离,相同的液滴仍从P点自由落下,此时液滴到达a板小孔时速度为v2,空气阻力不计,下列说法中正确的是( )

A.若开关S保持闭合,向下移动b板,则v2>v1
B.若开关S保持闭合,则无论向上或向下移动b板,都有v2=v1
C.若开关S闭合一段时间后再断开,向下移动b板,则v2>v1
D.若开关S闭合一段时间后再断开,则无论向上或向下移动b板,都有v2<v1
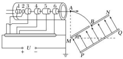
13.下图为一多级加速器模型,一质量为m=1.0×10-3 kg、电荷量为q=8.0×10-5 C的带正电小球(可视为质点)通过1、2级无初速度地进入第3级加速电场,之后沿位于轴心的光滑浅槽,经过多级加速后从A点水平抛出,恰好能从MN板的中心小孔B垂直金属板进入两板间,A点在MN板左端M点正上方,倾斜平行金属板MN、PQ的长度均为l=1.0 m,金属板与水平方向的夹角为θ=37°,sin 37°=0.6,cos 37°=0.8,重力加速度g取10 m/s2。

(1)求A点到M点的高度以及多级加速电场的总电压U。
(2)若该平行金属板间有图示方向的匀强电场,且电场强度大小E=100 V/m,要使带电小球不打在PQ板上,则两板间的距离d至少要多长?
14.如图所示为一多级加速器模型,一质量为m=1.0×10-3 kg、电荷量为q=8.0×10-5 C的带正电小球(可视为质点)通过1、2级无初速度地进入第3级加速电场,之后沿位于轴心的光滑浅槽,经过多级加速后从A点水平抛出,恰好能从MN板的中心小孔B垂直金属板进入两板间,A点在MN板左端M点正上方,倾斜平行金属板MN、PQ的长度均为L=1.0 m,金属板与水平方向的夹角为θ=37°,sin 37°=0.6,cos 37°=0.8,重力加速度g取10 m/s2.

(1)求A点到M点的高度以及多级加速电场的总电压U;
(2)若该平行金属板间有图示方向的匀强电场,且电场强度大小E=100 V/m,要使带电小球不打在PQ板上,则两板间的距离d至少要多长?
解析:A、B两板间距变为原来的,根据C=可知,电容器的电容变为原来的倍,根据Q=CU可知,极板所带电荷量变为原来的倍,根据E=可知,内部场强变为原来的倍,由于F=kQE,所以两极板之间的引力变为原来的倍,选项B正确.
解析:[若x变大,则由C=,可知电容器电容减小,在极板间的电压不变的情况下,由Q=CU知电容器带电荷量减少,此时带正电荷的极板得到电子,带负电荷的极板失去电子,所以有电流流向负极板,A、C错误,D正确.若电容器极板上带电荷量不变,x变小,则电容器电容增大,由U=可知,电容器极板间电压减小,B错误.]
解析:平行板电容器充电后与电源断开,电荷量Q不变,将正极板移到图中虚线所示的位置时,
d减小,根据C=知,电容增大,根据U=可知,电容器的电压减小.由E===,
可知电场强度E不变,则P与负极板间的电势差不变,P点的电势不变,
正电荷在P点的电势能Ep不变,故A正确.
解析:断开开关,电容器所带电荷量不变,将A、B分开一些,则d增大,根据C=知,
电容减小,根据U=知,电势差增大,指针张角增大,故A项正确;保持开关闭合,电容器两端的电势差不变,则指针张角不变,故B、C项错误;保持开关闭合,电容器两端的电势差不变,滑动变阻器仅仅充当导线功能,滑动触头不会影响指针张角,故D项错误.
解析:[带电小球在电容器中处于平衡时,由平衡条件有tan θ=,当开关S断开时,电容器两极板上的电荷量Q不变,由C=,U=,E=可知E=,故增大或减小两极板间的距离d,电容器两极板间的电场强度不变,θ不变,选项A、B错误;当开关S闭合时,因为两极板间的电压U不变,由E=可知,减小两极板间的距离d,E增大,θ变大,选项C正确,D错误.]
解析:若x变大,则由C=
可知电容器电容减小,在极板间的电压不变的情况下,由Q=CU知电容器的电荷量减少,此时带正电荷的极板得到电子,带负电荷的极板失去电子,所以有电流流向负极板,A、C错误,D正确。若电容器极板上电荷量不变,x变小,则电容器电容增大,电容器极板间电压减小,B错误。
解析:[开始时,油滴受力如图甲所示.静电力F与重力mg平衡.当将B板右端向下移动一小段距离后,A、B板间电场线变成曲线,原因是A、B板仍为等势面,电场线与等势面垂直,则油滴受的电场力F′与mg不在一条直线上(如图乙所示).又因为正对面积变小,电容变小.由C=知,在电压不变的情况下,Q变小,则两板间电场减弱,F′<F,故F′与mg的合力斜向右下方,即油滴将向右下方运动.]

解析:带负电的微粒,从上边区域沿一条电场线以速度v0匀速下落,进入下边区域后,由于电场强度变大,因此所受电场力变大,因此微粒开始做向下的减速运动,等到速度为零后,又会向上加速,由于过程的对称性,等到它到达区域分界线时,速度大小又达到了v0,此后进入上边区域,受力依然平衡.因此,速度—时间图象应该为A.
解析:[平行板电容器电容C=,由U=及E=可知,E=,当两板间距离变化时,电场强度不变.M板移动前,对带电粒子下落过程应用动能定理得mg·2d-Eq·d=0,M板移动后,设粒子在板间运动的距离为x时,速度为零,则有mg-Eqx=0,两式联立解得x=,可知该点与N板的距离为d,B正确.]
解析:[由题分析可知,微粒做匀速直线运动,加速度为零,故A错误.重力做功mgd,微粒的重力势能减小,动能不变,根据能量守恒定律可知,微粒的电势能增加了mgd,故B错误.由上可知微粒的电势能增加量ΔE=mgd,又ΔE=qU,得到两极板间的电势差U=,故C正确.由题可判断出电场力方向竖直向上,微粒带负电,则电场强度方向竖直向下,M板的电势高于N板的电势,故D错误.]
解析:设质点距离A板的高度为h,A、B两板原来的距离为d,电压为U,质点的电荷量为q.质点到达b孔时速度恰为零,根据动能定理得mg(h+d)-qU=0.保持S闭合,A、B之间电压不变,由动能定理得mg(h+d)-qU=mv2=0,即质点下落到b孔时速度恰减为零,故A、B错误;
断开S,A、B两板电荷量不变,由C==,若A板下移,d减小,电容C增大,则U减小,
由动能定理得mg(h′+d′)-qU=mv2>0,即质点下落到b孔时速度不为零,还有向下的速度,
故C正确;断开S,在两板左边之间插入电介质,相对介电常数增大,电容C增大,则U减小,
由动能定理得mg(h+d)-qU=mv2>0,即质点下落到b孔时速度不为零,还有向下的速度,故D正确.
解析:对液滴,从P到a由动能定理得mg-Uq=mv-0(或mg-Eq=mv-0),
若开关S保持闭合,向下移动b板,液滴到达a板时重力做的功和电场力做的功都不变,
则v2=v1,A错误,B正确;若开关S闭合一段时间后再断开,向下移动b板,电容增大,
电荷量不变,电场强度E===不变,从P到a的过程中,重力做的功不变,
电场力做的功减小,则v2>v1,C正确;若开关S闭合一段时间后再断开,向上移动b板,
则电容减小,电荷量不变,电场强度E===不变,从P到a的过程中,
重力做的功不变,电场力做的功增大,v2<v1,结合C项分析可知D错误.
(1)设小球从A点到B点的运动时间为t1,小球的初速度为v0,A点到M点的高度为y
则有
=tanθ ①
cosθ=v0t1 ②
y-
sinθ=
③
联立①②③并代入数据解得v0=
m/s,y=
m④
带电小球在多级加速器加速的过程中,根据动能定理有qU=
-0 ⑤
代入数据解得U=18.75V。
(2)进入电场时,以沿板向下为x轴正方向和垂直于板向下为y轴正方向建立直角坐标系,
将重力正交分解,则沿y轴方向有Fy=mgcosθ-qE=0 ⑥
沿x轴方向有Fx=mgsinθ⑦
故小球进入电场后做类平抛运动,设小球刚好从P点离开,则有Fx=ma⑧
⑨
dmin=
t2 ⑩
联立④⑦⑧⑨⑩并代入数据解得dmin=
m
即两板间的距离d至少为
m。
(1)设小球从A点到B点的运动时间为t1,小球的初速度为v0,A点到M点的高度为y
则有=tan θ ①
cos θ=v0t1 ②
y-sin θ=gt ③
联立①②③式并代入数据解得v0= m/s,y= m ④
带电小球在多级加速器加速的过程,根据动能定理有qU=mv-0 ⑤
代入数据解得U=18.75 V
(2)进入电场时,以沿板向下为x轴正方向和垂直于板向下为y轴正方向建立直角坐标系,
将重力正交分解,则沿y轴方向有Fy=mgcos θ-qE=0 ⑥
沿x轴方向有Fx=mgsin θ ⑦
故小球进入电场后做类平抛运动,设刚好从P点离开,则有Fx=ma ⑧
=at ⑨
dmin= t2 ⑩
联立④⑦⑧⑨⑩式并代入数据解得dmin= m
即两板间的距离d至少为 m.
高考物理复习 课时过关题39 力学实验(含答案解析): 这是一份高考物理复习 课时过关题39 力学实验(含答案解析),共8页。试卷主要包含了L2如下表所示.,P6之间,P7之间等内容,欢迎下载使用。
高考物理复习 课时过关题16 功和功率(含答案解析: 这是一份高考物理复习 课时过关题16 功和功率(含答案解析,共7页。试卷主要包含了WF2分别表示拉力F1等内容,欢迎下载使用。
高考物理一轮复习课时作业22电容器与电容带电粒子在电场中的运动含答案: 这是一份高考物理一轮复习课时作业22电容器与电容带电粒子在电场中的运动含答案,共9页。

