新疆吐鲁番市2021-2022学年八年级(上)期末考试物理试题(word版 含答案)
展开新疆吐鲁番市2021-2022学年八年级(上)期末考试物理试题
学校:___________姓名:___________班级:___________考号:___________
一、单选题
1.目前我国在对纳米技术的研究已经跻身世界前列,1.76×109nm可能是( )
A.物理课本长度
B.一个人的身高
C.一座山的高度
D.一个篮球场的长度
2.现代社会里,养狗成为一种“时尚”,但遛狗伤人事故也时有发生,超声驱狗器(如图所示为网上一款)应运而生。实验结果显示:对着狗一按开关,狗好像听到巨大的噪声而躲开,而旁边的人什么也没听见。以下分析正确的是( )
A.人什么也没听见,是因为它发出声音的响度小
B.人什么也没听见,是因为它发出声波的频率不在人耳能够感受的频率范围内
C.人什么也没听见,是因为它发出的声音不是振动产生的
D.人什么也没听见,是因为它发出的声波不能在空气中传播
3.学校在预防新冠肺炎期间,要求对每位师生进行体温检测。下列说法正确的是( )
A.体温计的量程是35℃~45℃
B.体温计的分度值是1℃
C.检测某同学体温是36.8℃,该同学体温正常
D.冰水混合物的温度一定为0℃
4.下列各例中,属于防止平面镜成像的是( )
A.家庭装修中,常利用平面镜来扩大视野空间
B.夜间行驶时,车内的灯必须关闭
C.牙医借助平面镜看清牙齿的背面
D.舞蹈演员利用平镜观察和矫正自己的姿势
5.下列说法正确的是
A.从冰箱拿出的雪糕包装袋上的“白霜”是水凝固形成的
B.可以用冰袋给发烧的病人降温,主要是利用冰熔化时吸热
C.夏天,将皮肤润湿会感到凉快,主要是利用水蒸发时放热
D.可以利用干冰人工增雨,主要是因为干冰能迅速升华放热
6.下列对密度公式的理解,正确的是( )
A.物质的密度跟它的质量成正比
B.物质的密度跟它的体积成反比
C.物质的密度由它的质量、体积决定
D.用ρ=可以计算物质的密度,但物质的密度跟它的质量、体积无关
7.一辆汽车沿平直公路行驶,路程 s与运动时间 t的关系如图所示,汽车运动最快的一段是( )
A.ab段 B.bc段 C.cd段 D.de段
8.生活中常把碗放在锅里的水中蒸食物,如图所示。当锅里的水沸腾以后,碗中的水( )
A.同时沸腾
B.稍后也沸腾了
C.温度达到沸点,不会沸腾
D.温度低于沸点,不会沸腾
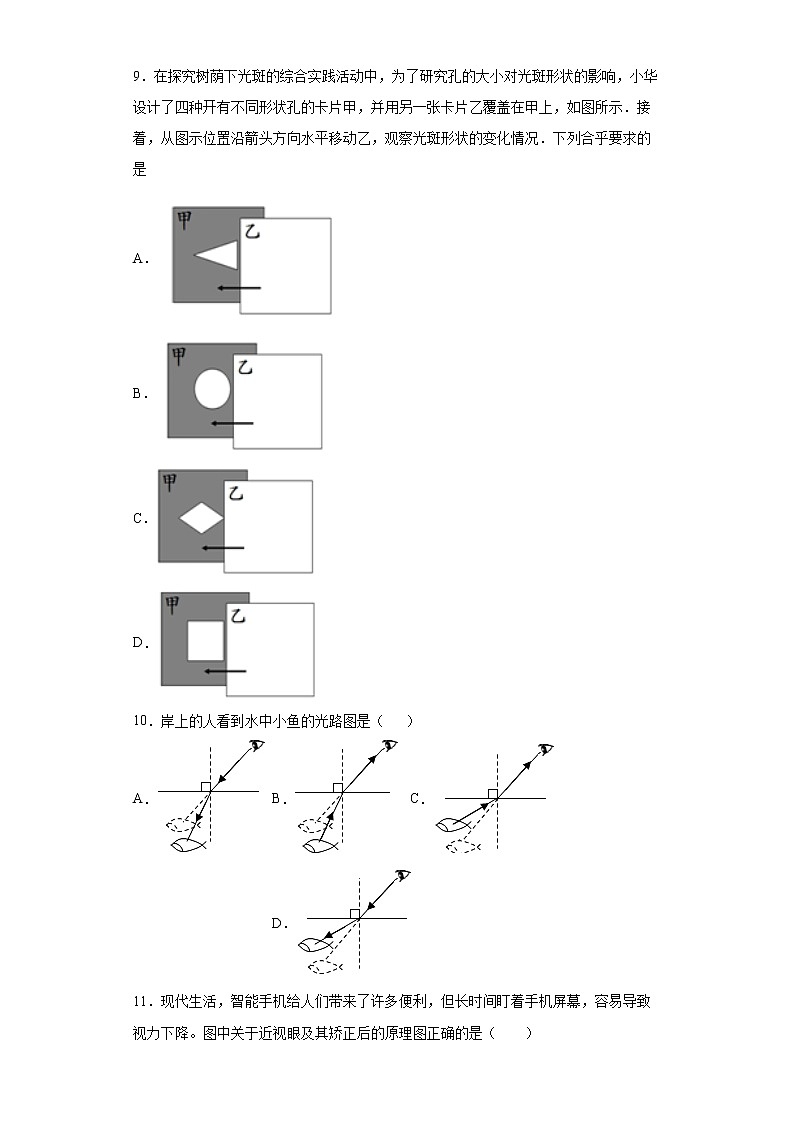
9.在探究树荫下光斑的综合实践活动中,为了研究孔的大小对光斑形状的影响,小华设计了四种开有不同形状孔的卡片甲,并用另一张卡片乙覆盖在甲上,如图所示.接着,从图示位置沿箭头方向水平移动乙,观察光斑形状的变化情况.下列合乎要求的是
A.
B.
C.
D.
10.岸上的人看到水中小鱼的光路图是( )
A. B. C. D.
11.现代生活,智能手机给人们带来了许多便利,但长时间盯着手机屏幕,容易导致视力下降。图中关于近视眼及其矫正后的原理图正确的是( )
A.甲和丙 B.甲和丁 C.乙和丙 D.乙和丁
12.如图所示,放在天平上的甲、乙两种实心球体积相等,它们是由不同物质制成的,图中天平平衡,由此可知,甲、乙两种球的物质密度之比为
A.3:5 B.5:3
C.1:3 D.3:1
二、填空题
13.如图 所示,用刻度尺测量物体的长度,读数时视线正确的是______(选填“A”“B”或“C”),测出该物体的长度是______cm。用温度计测得的冰的温度是______℃,水的温度是______℃。
14.下图是某个实验小组利用频闪照相机每隔0.1s拍摄一次所得到的物体和刻度尺的频闪照片,黑点表示物体的像.由图可知,物体在AB段的路程为_____cm,平均速度为_____m/s.
15.我国古书《梦溪笔谈》中记载:行军宿营,士兵枕着牛皮制的箭筒睡在地上,能及早听到夜袭的敌人的马蹄声,其原因是 ________能够传声,且比空气传声的速度 ________
16.二胡是具有中国民乐气质的弦乐器。在使用前会对二胡进行调音,调音时使弦拉得紧一些,是为了改变______;拉二胡时,演奏者的手按压弦的不同位置是为了改变______。(均选填“响度”、“音调”或“音色”)
17.(枣庄中考)小李同学看到在沸腾的油锅中取铁球的表演后,得知锅中的“油”是由油和醋组成的混合液体,油的沸点为287 ℃,醋的沸点只有60 ℃,当温度达到_____℃时液体就沸腾了,继续加热,液体的温度_____(填“会”或“不会”)升高,表演时铁球的温度不可能超过____℃,只有当_____时,继续加热,液体温度才会升高.
18.古代劳动人民有许多伟大的发明,其中之一是“日晷(音gui)”,如图所示,日晷是一种计时工具,它是利用了光在空气中沿_____传播的道理。
19.家用小轿车的前挡风玻璃相当于平面镜,一般都是______(选填“竖直”或“倾斜”)安装的,这是为了使车内景物所成______(选填“实像”或“虚像”)的位置在轿车前部的______ 。(选填“正前方”或“正上方”)
20.为了防止森林火灾,在森林里是不允许随地丢弃透明的饮料塑料瓶的。这是因为雨水进入饮料瓶后,它对光的作用相当于一个______镜,对太阳光有______的作用,可能会导致森林火灾。
21.一桶食用油,用去一半后,剩下的食用油的密度_____;一瓶氧气用去一半后,剩下的氧气的密度____.(变大/变小/不变)
22.世界上最轻的固体“气凝胶”是新材料探索的重要成果。该物质的坚固耐用程度不亚于钢材,且能承受1400℃的高温。“气凝胶”是世界上最轻的固体,是指它的_______(选填“质量”或“密度”)小。已知某大型飞机,如果用“气凝胶”这种材料制作需“气凝胶”的体积为15m3,则飞机的质量为______kg。(“气凝胶”的密度为3kg/m3)。
三、作图题
23.光与平面镜成角射在平面镜上,如图所示,请根据光的反射定律画出它的反射光线,并标明反射角的大小。
24.一束光从水斜射入空气中,其折射光线如图所示。请在图中作出此光线的入射光线(注意标出法线)。
25.请在图中根据入射光线画出相对应的折射光线。
四、实验题
26.在“探究海波熔化时温度的变化规律”的实验中,使用的实验装置如图甲所示。
(1)组装实验器材时,合理的顺序是______(填序号);
①温度计 ②石棉网 ③装水的烧杯 ④酒精灯 ⑤装有海波的试管
(2)为了使试管中的海波受热均匀,应选择______(选填“大颗粒”或“小颗粒”)的海波进行实验;
(3)如图丙所示是根据实验数据绘制的海波熔化时温度随时间变化的图象,图象中的______(选填“AC”“AB”或“BC)段表示海波的熔化过程;
(4)由实验可知,当海波的温度处于48℃时,其状态是______。
A.固态 B.固液共存状态 C.固态、液态或固液共存状态
27.如图 所示为探究“凸透镜成像规律”的实验装置。
(1)实验前老师为同学们准备了焦距分别为10cm和30cm的两个凸透镜,为了顺利完成实验,你应该选择焦距为______cm的凸透镜;
(2)选好器材后,依次将点燃的蜡烛、凸透镜、光屏放在光具座上的A、O、B位置,将凸透镜向______(选填“上”或“下”)移动,可以使烛焰的像清晰地成在光屏的中央,此时所成像的性质是倒立、______(选填“放大”或“缩小”)的实像;
(3)若小华在做实验时,不小心让凸透镜和自己的衣服发生摩擦带了静电,将一小片碎纸吸附到了凸透镜上,将凸透镜的镜面遮挡住了一部分,此时光屏上______(选填“烛焰的像不完整”“会有纸片的像”或“烛焰的像变暗了些”)。
28.在做测量液体密度的实验中,小明想知道食用油的密度,于是他用天平和量筒做了如图所示的实验。
[Failed to download image : https://img.xkw.com/dksih/QBM/2022/2/12/2915053652574208/2917552440541184/STEM/e249dda8-df2b-4a01-a4fe-8265af0abac3.png?resizew=0]
(1)将托盘天平放在水平桌面上,把游码移到标尺左端的零刻度线处,发现指针静止时的位置如图甲所示,则应将平衡螺母向______(选填“左”或“右”)调节,使横梁平衡;
(2)天平调节平衡后,测出空烧杯的质量为28g,在烧杯中倒入适量的食用油,测出烧杯和食用油的总质量如图乙所示,将烧杯中的食用油全部倒入量筒中,食用油的体积如图丙所示,则烧杯中食用油的质量为______g,食用油的密度为______kg/m3;
(3)小明用这种方法测出的食用油密度与真实值相比______(选填“偏大”或“偏小”)。
29.有一铁球,质量是237g,体积是80cm3。(ρ铁=7.9×103kg/m3,ρ水=1.0×103kg/m3)
(1)请通过计算说明该铁球是否为空心的?
(2)若将该铁球的空心部分注满水,则整个铁球的总质量是多大?
五、计算题
30.一列长为200m的火车以一定速度行驶,完全通过全长为800m的隧道时,用时100s。求:(火车的速度恒定不变)
(1)火车行驶的速度;
(2)火车全部在隧道里的时间。
参考答案:
1.B
2.B
3.C
4.B
5.B
6.D
7.A
8.C
9.A
10.B
11.D
12.D
13. B (1.31~1.35)cm -2 88
14. 7.50 0.15
15. 固体 快
16. 音调 音调
17. 60 不会 60 醋全部汽化
18.直线
19. 倾斜 虚像 正上方
20. 凸透 会聚
21. 不变 变小
22. 密度 45
23.
24.
25.
26. ④②③⑤① 小颗粒 BC C
27. 10 下 缩小 烛焰的像变暗了些
28. 左 33.2 偏大
29.(1)是空心;(2)287g
30.(1)10m/s;(2)60s
2022-2023学年新疆吐鲁番市八年级(上)期末物理试卷(含答案解析): 这是一份2022-2023学年新疆吐鲁番市八年级(上)期末物理试卷(含答案解析),共15页。试卷主要包含了单选题,填空题,作图题,实验探究题,计算题等内容,欢迎下载使用。
新疆吐鲁番市高昌区2019-2020学年八年级上学期期末物理试题: 这是一份新疆吐鲁番市高昌区2019-2020学年八年级上学期期末物理试题,共15页。
新疆伊犁州2021-2022学年九年级(上)期末考试物理试题(B卷)(word版含答案): 这是一份新疆伊犁州2021-2022学年九年级(上)期末考试物理试题(B卷)(word版含答案),共9页。试卷主要包含了单选题,填空题,作图题,实验题,计算题等内容,欢迎下载使用。

